问题来源:
含义 | 反映企业在计划期期末预计的财务状况 |
编制依据 | 需以计划期开始日的资产负债表为基础,结合计划期间各项经营预算、专门决策预算、资金预算和预计利润表进行编制 |
特点 | 它是编制全面预算的终点 |
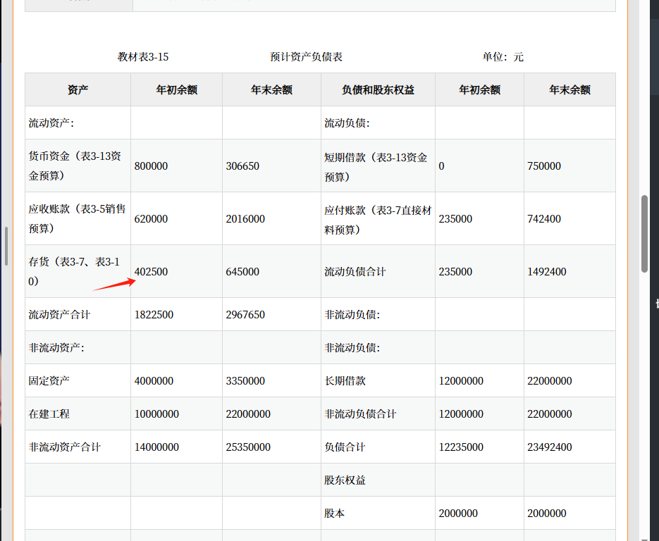
教材表3-15 预计资产负债表 单位:元 | |||||
资产 | 年初余额 | 年末余额 | 负债和股东权益 | 年初余额 | 年末余额 |
流动资产: | 流动负债: | ||||
货币资金(表3-13资金预算) | 800000 | 306650 | 短期借款(表3-13资金预算) | 0 | 750000 |
应收账款(表3-5销售预算) | 620000 | 2016000 | 应付账款(表3-7直接材料预算) | 235000 | 742400 |
存货(表3-7、表3-10) | 402500 | 645000 | 流动负债合计 | 235000 | 1492400 |
流动资产合计 | 1822500 | 2967650 | 非流动负债: | ||
非流动资产: | 非流动负债: | ||||
固定资产 | 4000000 | 3350000 | 长期借款 | 12000000 | 22000000 |
在建工程 | 10000000 | 22000000 | 非流动负债合计 | 12000000 | 22000000 |
非流动资产合计 | 14000000 | 25350000 | 负债合计 | 12235000 | 23492400 |
股东权益 | |||||
股本 | 2000000 | 2000000 | |||
资本公积 | 500000 | 500000 | |||
盈余公积 | 750000 | 968775 | |||
未分配利润 | 337500 | 1356475 | |||
股东权益合计 | 3587500 | 4825250 | |||
资产总计 | 15822500 | 28317650 | 负债和股东权益总计 | 15822500 | 28317650 |

郑老师
2025-10-04 18:24:12 77人浏览
期初材料80*3000=240000
期初产成品1625*100=162500
二者相加就是期初存货240000+162500=402500
每天努力,就会看到不一样的自己,加油!相关答疑
-
2025-10-11
-
2025-10-11
-
2025-08-16
-
2025-08-09
-
2025-08-01